奶嘴针刺和抗拉扯性能测试仪 解析
本文章摘抄自济南三泉智能科技有限公司!
奶嘴,是使用在奶瓶上帮助吸奶的一种工具,多为婴儿使用。奶嘴市面上最常见的就是硅胶和乳胶的,另外还有一种橡胶的。硅胶与乳胶相比,质地较硬,乳胶的很软,吸起来不费劲,但不经用,容易老化。婴幼儿用奶瓶和奶嘴用量大,质量好坏直接关系到婴幼儿的身体健康和使用安全。市场监管总局(国家标准委)发布的 GB38995-2020婴幼儿用奶瓶奶嘴国家强制性标准,规定了产品或产品销售包装上应标注的购买信息、材质标识、使用说明、安全警示内容,补足了婴幼儿用奶瓶和奶嘴在使用安全方面标准的空白。
那么,根据GB38995-2020玻璃奶瓶检测仪器设备有哪些?济南三泉中石实验仪器有限公司依据标准,开发了DLS-07S奶嘴性能测试,适用于奶瓶奶嘴的针刺和抗拉扯性能、柔性、安全保持力、塑料奶瓶瓶身的抗压变形性能等多项试验力学性能测试,一机多用,具体测试方法一一来介绍。

奶嘴检测仪器设备
一、针刺性能
此项实验是模拟儿童牙咬奶嘴,使用DLS-07S耐破性能测试仪安装模拟牙齿的金属尖针以10mm/min的速度垂直施加200N的力量在奶嘴上,实验结束奶嘴应无损伤。

二、抗拉扯性能
用DLS-07S耐破性能测试仪拉伸夹具沿式样轴线方向分别夹住奶嘴的两端以200mm/min的速度将拉力施加到90N,保持10s,式样应无破损。
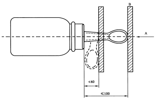
三、奶嘴安全保持力
安全保持力是为了检验奶瓶的部件使用安全性,需要耐破奶嘴一起进行实验。要求奶瓶瓶身与主轴成45°角。用DLS-07S耐破性能测试仪在主轴线方向以200mm/min的速度将拉力增至60N保持10s。奶嘴不应被拉脱。

四、柔性测试
柔性测试是为了检测奶嘴的柔软程度。将抛光的钢板施加10N的力量在奶嘴的末端,观察奶嘴的弯曲点位置。此项使用的奶嘴检测仪器设备也是DLS-07S耐破性能测试仪。

以上是济南三泉智能科有限公司根据自身优势还开发了检测奶嘴的针刺和抗拉扯性能、柔性、安全保持力等多项试验力学性能测试仪器,能够解决奶瓶奶嘴的众多测试问题。
另外,奶瓶的检测项目还有内应力、抗冲击、耐热冲击、颗粒法耐水等多项测试指标。达到标准的各项指标只是基本要求。大多数企业标准都要高于国家标准要求。只有借助专业仪器,与专业的厂家沟通建立企业标准,才能保障产品的质量。济南三泉智能科有限公司已与国内奶瓶奶嘴制造企业、第三方检测机构有良好合作,可以帮助企业提升检测能力,为产品质量保驾护航。
内奶瓶奶嘴制造企业、第三方检测机构有良好合作,可以帮助企业提升检测能力,为产品质量保驾护航。

本文地址: https://www.xsyiq.com/52122.html
网站内容如侵犯了您的权益,请联系我们删除。